今日(4月9日)A股共32只个股发生大宗交易,总成交14.89亿元,其中双环传动、亿纬锂能、国瓷材料成交额居前,成交额依次为1.73亿元、1.7亿元、1.69亿元。成交价方面开户步骤,共7只股票平价成交,4只股票溢价成交,21只股票折价成交;众合科技、大中矿业、亿纬锂能溢价率居前,溢价率依次为2.99%、0.42%、0.29%;华康洁净、光迅科技、康众医疗折价率居前,折价率依次为20.91%、16.74%、14%。机构专用席位买入额排名:双环传动(1.73亿元)、亿纬锂能(1.7亿元)、国瓷材料(1.69亿元)、龙芯中科(8962.96万元)、众合科技(5502.04万元)、晶瑞电材(4695.15万元)、罗博特科(4025.7万元)、光环新网(3447.25万元)、赛腾股份(1435.7万元)、创新新材(1358万元)、特发服务(1054.56万元)、富佳股份(378.75万元)、恒逸石化(312万元)、康众医疗(299.16万元)。机构专用席位卖出额排名:亿纬锂能(1.7亿元)、宁德时代(6378.56万元)、恒逸石化(312万元)。
举报 第一财经广告合作,请点击这里此内容为第一财经原创,著作权归第一财经所有。未经第一财经书面授权,不得以任何方式加以使用,包括转载、摘编、复制或建立镜像。第一财经保留追究侵权者法律责任的权利。如需获得授权请联系第一财经版权部:banquan@yicai.com 相关阅读
金陵体育今日涨20.00% 3家机构专用席位净买入7583.36万元金陵体育今日涨20.00% 3家机构专用席位净买入7583.36万元
04-07 16:33
准油股份今日涨停,有3家机构专用席位净卖出5371.75万元准油股份今日涨停,有3家机构专用席位净卖出5371.75万元
元股证券:ygzq.hk 18 03-04 16:36
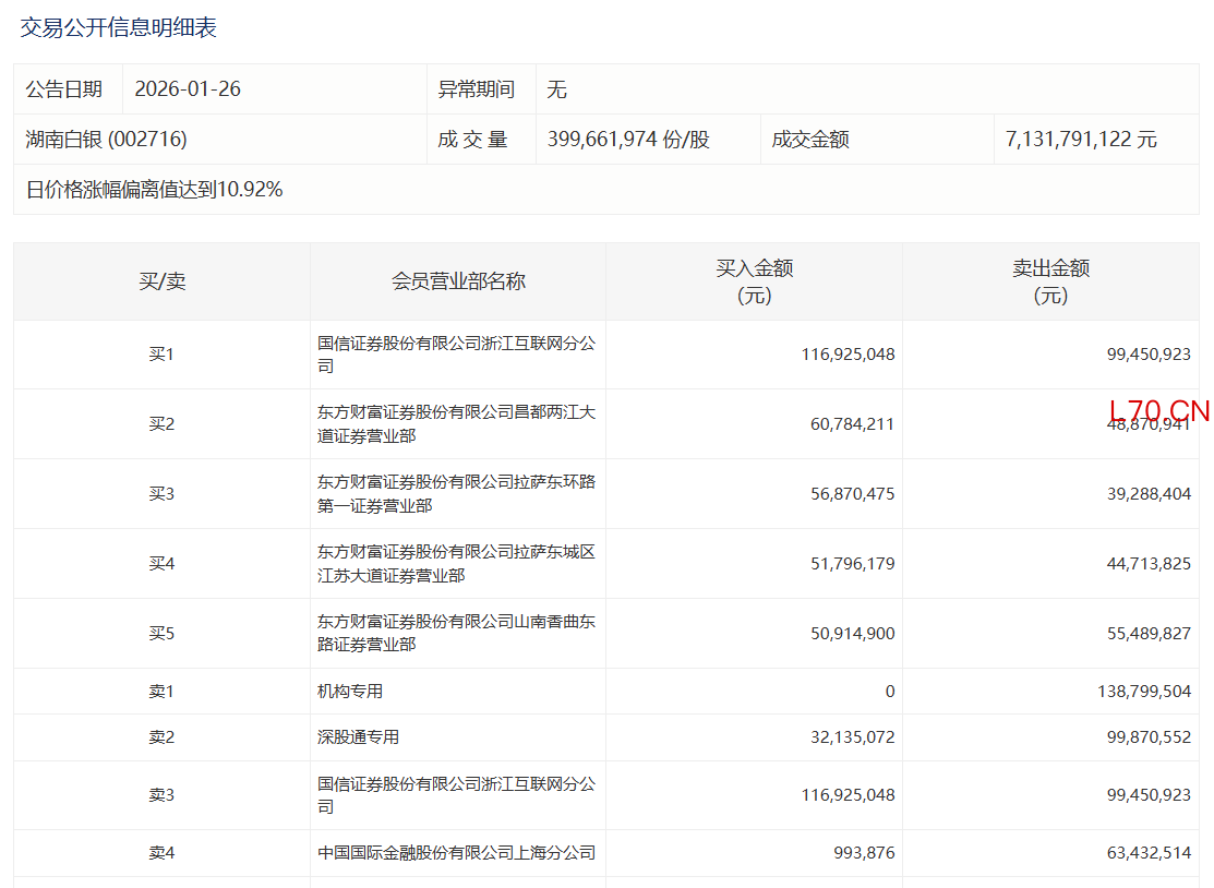
湖南白银今日涨停,有1家机构专用席位净卖出1.39亿元湖南白银今日涨停,有1家机构专用席位净卖出1.39亿元
配资网站 16 01-26 16:27
瑞丰达案处罚落定!罚没合计4100万,犯罪线索已移送公安2024年上半年,瑞丰达实际控制人“跑路”的消息引发各方关注,证监会关注后展开核查,并于5月11日宣布对瑞丰达进行立案调查。 第一财经曾连续刊发《瑞丰达人去楼空,近20名投资者现场维权,浦东经侦查封办公楼》、《突然“跑路”的瑞丰达:重仓新三板公司,股东一个月前接连“撤退”》《“第三方”兜底并承诺8%年收益,瑞丰达“跑路”幕后操盘手浮现》等独家深度报道,揭示了瑞丰达产品4月份就无法兑付并悄然变更股东,兜底保收益销售产品,重仓绩差新三板公司、存在高买低卖异常交易行为等情形,向市场揭示风险,提醒投资者注意防范。
171 01-23 17:09
利欧股份今日跌停开户步骤,3家机构专用席位净买入6930.05万元利欧股份今日跌停,3家机构专用席位净买入6930.05万元
31 01-21 16:26 一财最热 点击关闭
元股证券|配资平台助您轻松开启杠杆投资提示:本文来自互联网,不代表本网站观点。